Заключительная стадия получения синтетической кожи нового поколения заключается в удалении растворителя, оставшегося в материале после экстракции матричного полимера, которая в наиболее экологически и пожаробезопасном варианте реализуется в токе водяного пара. Возможно использование как насыщенного, так и перегретого водяного пара. Поскольку при использовании перегретого пара происходит удаление жидкости практически до нулевого содержания, то данную стадию можно рассматривать как процесс конвективной сушки капиллярно-пористого материала.
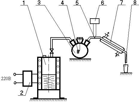
На предварительно созданной экспериментальной установке была определена лимитирующая стадия процесса удаления растворителя из капиллярно-пористых тел и полиэфируретана, но оказалось невозможным определять остаточное содержание растворителя в материале. С этой целью изготовлена экспериментальная установка, позволяющая исследовать процесс удаления алкилбензолов насыщенным водяным паром в широком интервале скоростей водяного пара путём непрерывного электрометрического измерения концентрации органической компоненты в водно-органической паровой смеси, выходящей из реакционного объёма. Измерения основаны на свойстве полупроводникового диода изменять своё сопротивление в зависимости от температуры. Принципиальная схема установки показана на рис. 1.

Установка состоит из последовательно соединённых парогенератора 1, рабочей ячейки 3, холодильника 7. Рабочая ячейка представляет собой трехгорлую колбу объёмом 250 см3. На выходе из рабочей ячейки установлен полупроводниковый диод, выводы которого соединены с омметром 6. Установка позволяет снимать изменение температуры в процессе удаления растворителя и кинетические кривые изменения остаточного содержания растворителя в материале во времени. Однако исследования возможно было проводить только при удалении растворителя в токе насыщенного водяного пара. Как известно, рабочая ячейка представляет собой колбу, поверхность которой достаточна велика. Использование перегретого пара сопровождается его частичной конденсацией на стенках рабочей ячейки, вследствие больших тепловых потерь в окружающую среду. И с течением времени на дне ячейки скапливается большое количество воды, присутствие которой резко изменяет параметры перегретого пара.
Эксперименты проводились по следующей схеме. Насыщенный водяной пар с температурой 100°С и заданным расходом подавался из парогенератора 1 в рабочую ячейку 3. Расход водяного пара регулировался за счёт изменения с помощью лабораторного автотрансформатора 2 напряжения, подаваемого на нагревательные элементы парогенератора. Образец материала 4 подвешивался на крючок, вмонтированный в пробку. Парогазовая смесь конденсировалась в холодильнике 7 и собиралась в мерном цилиндре 8. Температурная кинетическая кривая процесса отгонки снималась посредством фиксирования показаний сопротивления диода 5 за определённые интервалы времени. Затем по калибровочному графику определяли истинное значение температуры парогазовой смеси.
На рис. 2 представлены типичные кривые отгонки п-ксилола в токе насыщенного водяного пара. Видно, что с уменьшением объёма рабочей ячейки время отгонки сокращается. Это можно объяснить тем, что с уменьшением объёма камеры увеличивается скорость пара. Отрезок постоянной температуры на уровне 93ºС соответствует теоретической температуре перегонки органического растворителя (п-ксилола) с водяным паром. При малом содержании растворителя в материале его температура начинает резко возрастать и через определенный промежуток времени достигает температуры теплоносителя. При введении малых объёмов растворителя в ячейку данный отрезок отсутствовал (рис. 3.).


Температуру перегонки органических растворителей с водяным паром можно определить графическим методом. На график наносят кривую давления паров водяного пара, но не от нуля, а от давления, равного атмосферному, и находят точку пересечения данной кривой с кривой давления насыщенных паров соответствующей жидкости. Абсцисса точки пересечения указывает искомую температуру перегонки. По данному методу нами определены температуры перегонки с водяным паром шести растворителей, которые могут быть использованы в технологии производства синтетической кожи. Иллюстрация данного метода представлена на рис. 4. Из графика видно, что наименьшей температурой перегонки с водяным паром обладают жидкости температура кипения, которых при атмосферном давлении наименьшая.

На рис. 5 показана температурная кривая отгонки п-ксилола из образца синтетической кожи. Масса сухого образца составляла 0,20355г. Масса вошедшего в него растворителя 0,6 г. Кривая на рис. 5 аналогична кривым, иллюстрирующим отгонку чистого растворителя. Отличие состоит лишь в продолжительности процесса.

Из выше представленных экспериментальных данных отчётливо видно, что прямолинейный участок постоянной температуры на кинетических кривых соответствует периоду постоянной скорости отгонки растворителя пока его концентрация в ячейке велика. Температура этого участка соответствует теоретической температуре перегонки данной жидкости с водяным паром. При достижении некоторой критической концентрации растворителя в рабочей ячейке происходит резкий скачок температуры парогазовой смеси до температуры водяного пара.
Экспериментальные данные, полученные на данной лабораторной установке, не дают нам достоверной информации о полноте удаления растворителя из синтетической кожи, так как в процессе отгонки происходит его замещение на воду, сконденсировавшуюся из водяного пара. Остаточное содержание воды в материале составляет около 45%, что вызывает необходимость его последующей сушки другим способом. Это доказывает нецелесообразность применения насыщенного водяного пара для удаления растворителя из синтетической кожи.