Безотказная и долговечная работа механизмов любых машин не возможна без применения смазочных материалов. Твердые, жидкие и газообразные смазочные материалы предназначены для снижения трения, уменьшения интенсивности изнашивания, охлаждения трущихся поверхностей, удаления продуктов износа из зоны контакта и как следствие продления работоспособности пары трения. Смазочный материал применяют в зависимости от условий работы, сложности конструкции агрегата, скоростных и силовых характеристик. Одними из самых распространенных смазочных материалов применяемых в машиностроении являются жидкие масла и консистентные смазки. В настоящее время промышленностью выпускают большой перечень этих смазочных материалов. Однако поиски и разработки более совершенной смазки продолжаются. Создаются различные присадки и наполнители к базовым маслам с целью улучшения их антифрикционных показателей. Для работы в этом направлении исследователям необходимо проведение целого ряда экспериментов в число которых входит оценка антифрикционных свойств смазочных материалов на машинах трения.
Современные машины трения это многофункциональные установки способные провести исследования в области трения в различных условиях и выдать целый ряд характеристик. Однако не всегда есть необходимость в использовании таких машин. На первоначальном этапе исследования нового смазочного материала необходимо проводить большое количество опытов и отсеивать непригодные для дальнейшего исследования образцы. В этом случае применяют различные экспресс методики на машинах относительно простой конструкции.
В настоящей работе рассматривается возможность переоборудования станка сверлильного настольного СНВШ 2 (рис. 1) в машину торцевого трения.

Станок обладает достаточной мощностью 0,75 кВт, а максимальный диаметр сверления 16 мм гарантирует большой крутящий момент. Возможность ступенчатой регулировки частоты вращения шпинделя от 550 об/мин до 3400 об/мин позволит проводить трибологические исследования в достаточно широком диапазоне. Основная модернизация данного станка будет заключаться в разработке конструкции державки для образцов и нагружающего устройства. Поскольку основной задачей перед разрабатываемой машиной будет стоять вопрос оценки противоизносных свойств смазочного материала нет необходимости в установки датчиков и устройств определяющих момент трения.
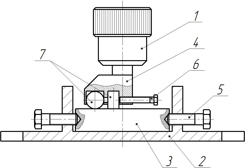
При разработке державки для образцов за основу принимаем пары трения торцевого типа. Одна из деталей пары трения будет крепиться неподвижно к столу станка, а вторая подвижная деталь будет крепиться в патроне. Принципиальная схема пары трения представлена на рисунке 2.

Порядок работы пары трения будет состоять из следующих действий. Корпус 2 (рис. 2) крепиться к столу станка по средствам Т-образного паза. В корпус 2 устанавливается неподвижный образец 3 (шайба) и фиксируется винтами 5. В патрон 1 станка зажимается державка 4. Державка имеет два технологических отверстия для установки либо сферического, либо цилиндрического образцов 7. Образцы фиксируются в державке по средствам винта 6.
Выше указанная схема обладает достаточной простотой и универсальностью. Так например благодаря своей форме неподвижный образец (шайба) может быть изготовлен на токарном станке без использования специального оборудования и режимов обработки. Стоит отметить, что рабочая торцевая поверхность этого образца может быть подготовлена для исследований в процессе точения. В качестве образцов устанавливаемых в державке могут быть использованы шарики от 201 подшипника и изготовленные на токарном станке образцы цилиндрической формы. В качестве материала для неподвижного образца (шайбы) и цилиндрического образца могут быть использованы различные металлы используемые в парах трения машин и механизмов.
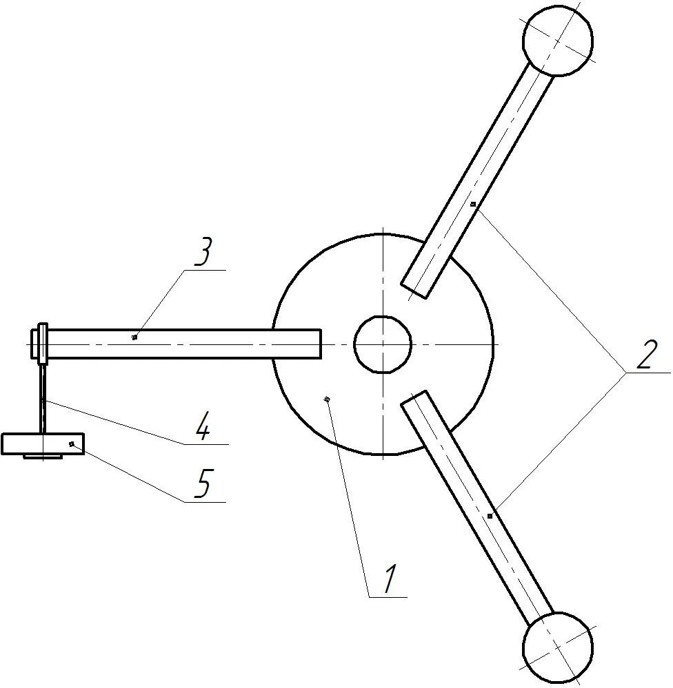
Нагрузка на образцы будет осуществляться через стандартный для станка привод подачи вала шестерни и реечной траверсы. Одну из ручек на валу шестерни предлагается заменить на стержень с возможностью установки груза. Схема нагружающего устройства представлена на рисунке 3.

Таким образом, для создания необходимого давления в паре трения на подвесную систему 4 стержня 3 устанавливается груз 5 необходимой массы.
Процесс трения при установленных оборотах шпинделя станка и необходимой нагрузке на образцы можно проводить при различных режимах трения (граничное, жидкостное) в различных смазочных средах. Для предотвращения вытекания и разбрызгивания смазочного материала на корпусе 2 (рис. 2) держателя неподвижного образца 3 предусмотрены бортики.
Износ поверхности трения цилиндрического образца предлагается осуществлять с помощью искусственных баз — установлением линейного износа по заранее нанесенным отпечаткам на твердомере ТКС — 1 М коническим твердосплавным индентором с углом при вершине а = 120 °. Для сферического образца показателем изменения интенсивности изнашивания может служить изменение диаметра пятна износа.
Таким образом предлагаемое переоборудование станка сверлильного настольного СНВШ 2 в машину торцевого трения не потребует вносить серьезные изменения в конструкцию станка, что в свою очередь исключает большие финансовые затраты. Предлагаемые конструкции узла трения и нагружающего устройства в совокупности с возможностями привода станка позволят проводить экспресс исследования смазочных материалов по противоизносным свойствам в достаточно широком диапазоне скоростей и нагрузок.