Эффективная и качественная работа пожарных подразделений зависит от множества факторов, влияющих в той или иной мере на выполнение поставленных задач перед подразделением. К таким факторам можно отнести личную подготовку каждого сотрудника, влияние различных климатических условий, и конечно, же исправность пожарного оборудования, находящегося на вооружении пожарной части. Хотелось бы более подробно остановится на последнем, а именно исправная и безотказная работа всех узлов и агрегатов, необходимых для выполнения задач, связанных с тушением пожаров и проведения аварийно-спасательных работ. В качестве пожарного оборудования предлагаю рассмотреть быстроразъемные соединения (БРС).
Быстроразъемные соединения (БРС) — элемент соединения пожарных рукавов, пожарно-технического оборудования, позволяющее произвести быстрое снятие (установку) их с (на) оборудования. Основой для изготовления таких соединений служат материалы (алюминий, силумин, нержавеющая сталь, латунь, бронза, композитные материалы, пластмассы). В настоящее время активно используются полугайки, изготовленные из силумина, материал отличающейся высокими литейными свойствами, но являющейся недостаточно прочным.
При тушении пожаров требуется оперативно соединять рукава, прокладывать рукавные линии, что связано с частыми ударами быстроразъемных соединений о землю и различные препятствия. При этом, как отмечалось ранее в материале соединений возникают сколы и трещины, а в большинстве случаев оно просто становятся непригодным для дальнейшей эксплуатации.
Одним из способов защиты полугаек от воздействия ударных нагрузок может служить увеличение ударной вязкости материала из которого оно изготовлено. Этот метод мог бы являться наиболее эффективным, однако большая по сравнению с силумином стоимость сплавов на основе меди, отлаженная технология производства и снабжения пожарных формирований именно силуминовыми полугайками делают внедрение новых материалов трудно реализуемым на практике.
Поэтому актуальной задачей является защита имеющихся полугаек от ударных нагрузок.
Одним из способов защиты полугаек от воздействию ударных нагрузок может послужить резиновая манжета вокруг полугайки, которая представлена на рисунке 1.

Данная манжета изготовлена из эластомерного материала, и поэтому имеет свойство деформироваться и хорошо поглощать ударные нагрузки.
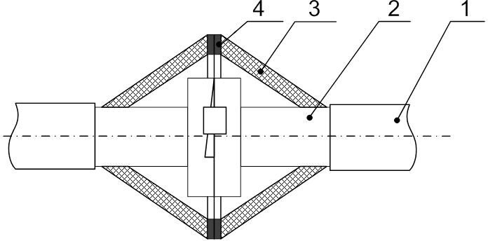
На рисунке 2 изображена конструкция предполагаемого соединения. Данное соединение состоит из пожарного рукава (1), соединенного с цилиндрической частью быстроразъемного соединения (2). На быстроразъемное соединение (2) устанавливается резиновая манжета (3) снабженная магнитоэластомерными вставками на торцевых частях (4).

Одним из достоинств данной конструкции является защита быстроразъемных соединений от воздействия ударных нагрузок, с помощью резиновых манжет. Стоит также отметить такие достоинства, как защита полугает от попадания снега в рабочую полость и дальнейшего обледенения рабочих органов зимой и попадания различного мусора и грязи.
С экономической точки зрения данная предполагаемая конструкция выглядит актуальна в связи с малыми затратами на ее создание. Таким образом, считаю создание данного оборудования актуальным и востребованным на сегодняшний день.